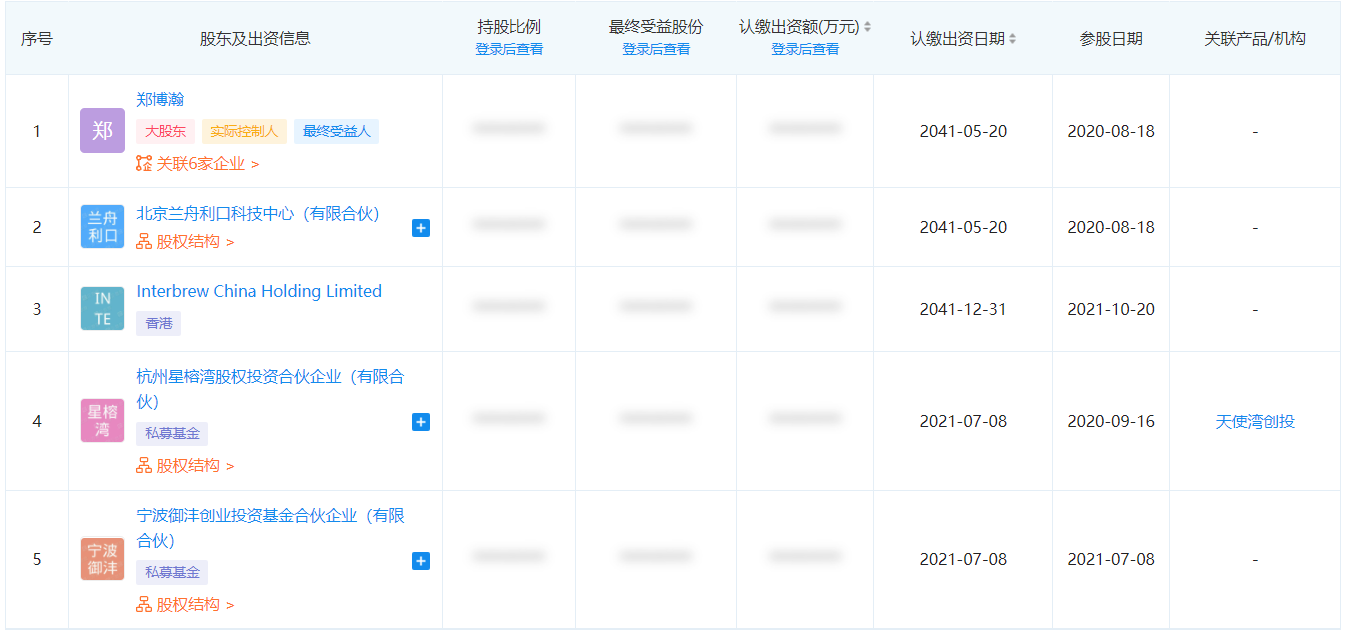
10月20日,新果酒品牌“蘭舟”所屬公司杭州利口酒業有限公司股權發生變更,新增股東香港 Interbrew China Holding Limited公司(英特布魯中國),持股比例為20%,目前為第三大股東,也是杭州利口酒業最大的投資人,而Interbrew China Holding Limited實控人為百威集團。

蘭舟旗艦店
資料顯示杭州利口酒業有限公司成立于2020年8月,目前已上市多款低度果酒,有青梅酒、桃子酒、薄荷酒、桑葚酒等,這類酒品都是為迎合年輕消費群體,做到低度、色澤、味蕾、社交完美融合媒介產品。
根據蘭舟官網介紹,蘭舟初創團隊成員來自江小白、達能中國、統一食品、YOOZ、中國香精香料、搜狐、網易等快消品和互聯網巨頭,擁有豐富的酒業創業經驗和對市場深刻的東西。創始人鄭博瀚是原YOOZ電子煙產品合伙人、原搜狐互金移動業務負責人。聯合創始人王增平是原江小白京津冀大區營銷總監、原達能大區負責人。

QCC截圖
此次投資再次印證蘭舟商業方向獲得資本看好,除了本次獲得國際知名酒企百威投資外,今年7月還獲得天使灣創投千萬級投資。由資本加持的蘭舟,也將研制出更多年輕群體喜愛的果酒。(酒展網 m.3x6r4.cn)
掃碼加微信進群、合作、報道、投稿……
添加時請注明身份、來意,謝謝!

酒展網













